Termostat TH 260

Termostaty TH260, TH261 jsou teplotně závislé jed­nopólové spínače, určené pro ochranu před nadměr­ným oteplením výfukových plynů topného naftového agregátu pro vytápění dieselelektrických vlakových souprav. Mohou být však použity i v jiných případech regulace teplot. Základem termostatu je spolehlivý mechanický systém, který nemá žádnou vlastní spotřebu energie. Termostaty se vyzna­čují vysokou odolností proti mechanickému poškození a nízkými náklady na provoz a údržbu.

 

Popis
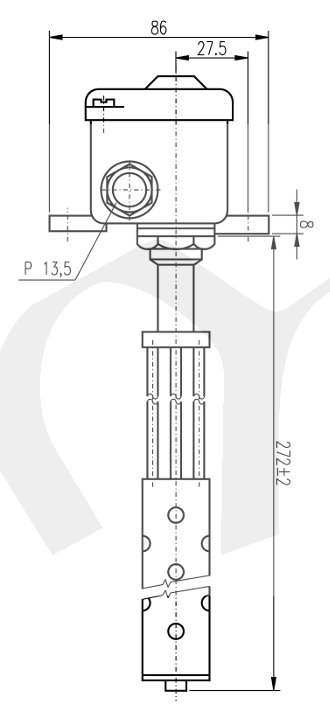
Teplotně citlivý element je stonek termostatu, tvořený dilatující trubkou z antikorozní žáruvzdorné oceli. Teplotní dilatace trubky se přenáší invarovou tyčí přes pákový převod na spínací mechanismus, který je uzavřen v hlavici. Regulační knoflík k nastavení teploty je rovněž uzavřen v hlavici a lze jej zaaretovat, aby vlivem otřesů nedo­šlo k přestavení vypínací teploty. Pro připevnění ter­mostatu slouží 2 patky s otvory pro šrouby. Při mon­táži nesmí být stonek mechanicky namáhán a musíbýt uložen tak, aby mohl dobře dilatovat. Termostat může být umístěn v libovolné poloze. Termostat je opatřen kabelovou ucpávkou P 13,5.

Invarové tyče mezi aktivní částí stonku a hlavicí zamezují nadměrnému oteplení hlavice.

Technické údaje

Regulační rozsah

200 °C až 400 °C

Diference spínací teploty

5-20 K

Přesnost nastavení

±10 % z nejvyšší hodnoty jmenovité vypínací teploty

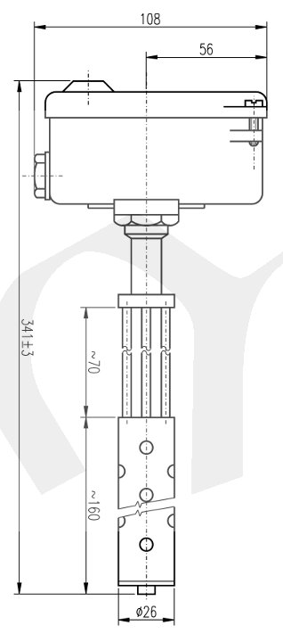
Délka stonku

160 mm + 110 mm tepelně izolační část

Jmenovité napětí, proud

120 V , 0,5 A ss (TH-260)
250 V , 15 A st (TH-261)

Dovolená teplota hlavice

120 °C

Dovolená teplota stonku

500 °C

Hmotnost

cca 0,85 kg

Krytí

IP 44

Odolnost vnějším vlivů

hlavice odolná vlivům třídy AB7, AE3, AM1, AN1, BE1

Životnost

10 000 cyklů

 

Parametry výrobku:

Regulační rozsah +200..+400 °C
Délka stonku 272 mm
Ke stažení: Termostaty_TH220_TH260_TH810_Eximus.pdf
Cena: 3200 Kč (bez DPH)
Cena: 3872 Kč včetně DPH 21 %
Do košíku

Id: 1522,   ID_Pohoda : E4675,